• 400-955-5758

Устройство для сбора грязной нефти

Параметры продукта

  • Индивидуализация:

    Доступный

  • Послепродажное обслуживание:

    Доступно

  • Гарантия:

    1 год

ООО Сиань Айвэй торговая компания
Провинция Шэньси, город Сиань, промышленный парк Цзинхэ, ул. южное цзингао, д. 1027
Описание продукта
Информация о компании
Основная информация
Сертификация
ISO
Материалов
Оцинкованный
Упаковка и доставка
Транспортная Упаковка
стандартная транспортная упаковка
Происхождение
China
Описание продукта

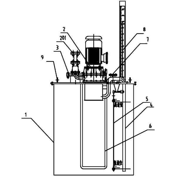
Устройство для сбора грязной нефти - это своего рода оборудование, специально разработанное для выполнения функций сбора, хранения и транспортировки нефтяного пятна, собранного системой очистки сточных вод нефтегазового месторождения, в соответствии с условиями работы нефтепромысловой насосной станции. Он может извлекать и транспортировать грязную нефть отсутствия коррозионной активности  и сточные воды, содержащие неволокнистые взвешенные вещества с максимальным размером частиц менее 5 мм, и используется для очистки сырой нефти, загрязненной нефти, нефтепродуктов, сточных вод и т.д., вытекающих из насосных станций. После обработки осадком очищенные сточные воды, нефтепродукты и т.д. будут использованы повторно.

Устройство оснащено автоматическим контролем уровня жидкости, автоматическим контролем температуры и т.д., которые могут выполнять функции автоматического управления и очистки. Степень автоматизации высока, что позволяет значительно улучшить экологические условия труда на насосной станции и избежать загрязнения окружающей среды, такого как грязное масло и сточные воды.

Конструктивные параметры

Название Устройство для сбора загрязненного масла (I)
Способ установки Захоронение на открытом воздухе
Рабочая температура окружающей среды (℃) -20~50
Размер резервуара (мм) Φ1600×1500
Материал резервуара Углеродистая сталь Q235B
Толщина стенки резервуара Не менее 5 мм
Антикоррозийное покрытие в баке Антикоррозийная подкладка из сверхпрочного стеклопластика, армированного стекловолокном
Носители для хранения и транспортировки Содержащее воду грязное масло, 5℃~50℃
Технические характеристики интерфейса DN50 DN50
DN50 DN50
Роторный насос некондиционной нефти ДЗБ40-6-0,45 DZB40-6-0.45
6 6
45 45
3 3
Уровнемер Датчик уровня жидкости, установленный сверху
Электрическая взрывозащищенность, уровень защиты Класс взрывозащиты ExdIIBT4; класс защиты IP55
Способ нагрева Змеевиковый нагрев горячей воды
Связь Передайте сигнал уровня жидкости, состояние запуска и остановки насоса, а также сигналы запуска и остановки. Способ связи - интерфейс RS485 и протокол Modbus для RTU.
Устройство для сбора грязной нефти
Устройство для сбора грязной нефти
  • Тип деятельности:
    Производитель / завод
  • Основная продукция:
    Устройство для сохранения тепла и материал для сохранения тепла,Электромагнитное нагревательное оборудование,Нефтепромысловое специальное оборудование
  • Количество сотрудников:
    50
  • Год основания:
    1998
  • Сертификация систем менеджмента:
    ISO9001
  • Средний срок поставки:
    1 неделя
  • Номер:
    001
  • Среднее время ответа:
    24 часа

ООО Сиань Айвэй торговая компания - это технологическая компания нового типа, объединяющая торговлю, исследования и разработки и производство. Компания была основана в 1998 году. Она уже давно специализируется на поставках материалов для нефтепромысловой добычи, а также на технических исследованиях и разработках, промышленном дизайне, производстве оборудования, монтаже и вводе в эксплуатацию, комплексное послепродажное обслуживание систем изоляции и обогрева нефтепромыслового оборудования.

Возможность торговать
  • Международные торговые термины(Incoterms):
    FOB、CFR、CIF、CPT、EXW
  • Условия оплаты:
    LC, T/T, D/P
  • Средний срок поставки:
    1 неделя
  • Количество сотрудников по внешней торговле:
    10
  • Год начала экспорта:
    1998
  • Доля экспорта:
    1
  • Основные рынки сбыта:
    Внутренний и международный
  • Ближайший порт:
    Международный сухопутный порт Сиань
  • Схема импорта-экспорта:
    Обычный режим
Производственные мощности
  • Адрес завода:
    Провинция Шэньси, город Сиань, промышленный парк Цзинхэ, ул. южное цзингао, д. 1027
  • Научно-исследовательский потенциал:
    Mощный
  • Количество научных сотрудников:
    10
  • Годовой объем производства:
    1000
Сертификат

Отправить сообщение этому магазину

*имя:
*почта:
*Ваш телефон:
*содержание:
Введите от 20 до 4000 символов.
ООО Сиань Айвэй торговая компания
Провинция Шэньси, город Сиань, промышленный парк Цзинхэ, ул. южное цзингао, д. 1027